Tomsk, Tomsk, Russian Federation
Tomsk, Tomsk, Russian Federation
Tomsk, Tomsk, Russian Federation
UDC 615.47
UDC 616-036.82
UDC 658.512.2
This article explores the peculiarities of designing rehabilitation equipment aimed at restoring health after stroke, one of the most serious problems affecting adult populations both nationally and globally. The work investigates patient engagement in rehabilitation programs and its incorporation into specialized equipment design. Given the goal of creating specific devices for rehabilitation equipment, the study begins with the analysis of patent literature, which is strictly structured, making it convenient for analysing existing rehabilitation equipment devices. To determine perspectives in rehabilitation equipment design, the paper considers expert opinions, given their experience working directly with patients; carries out a classification of psychological and ergonomic approaches in rehabilitation equipment design, highlighting three main approaches. The first approach utilizes dynamic repulsive effects, stimulating patients’ active participation in their recovery process. However, experts note that this method may be applicable primarily for individuals with stable mental health. The second approach leverages positive static psychological effects through constant factors like shape, colour, and tactile sensations. These methods are well studied and practical for designing rehabilitation equipment. The third approach relies on positive dynamic effects, currently gaining prominence due to the growing number of related patents. Developing devices based on positive dynamic effects is most promising both in terms of operating rehabilitation equipment and in terms of patent protection for the proposed solutions.
rehabilitation equipment, expert, patient, simulator, dynamic effect
Введение
Опираясь на данные Всероссийского центра профилактической медицины, можно утверждать, что инсульт является одной из серьезных проблем взрослого населения нашей страны — от представленного заболевания умирает 25% мужчин и 39% женщин. Среди причин смерти инсульт занимает третье место среди развитых стран [1]. Из пациентов, перенесших инсульт 31% нуждаются в постоянном уходе, 20% не могут ходить самостоятельно и лишь 20% восстанавливают здоровье [2].
Для эффективной реабилитации после инсульта, а также после перенесших операций, травм используется специализированное оборудование [3]. Активное использование разработанных реабилитационных тренажеров в лечебном процессе дают хорошие результаты, но по мнению врачей реабилитологов существует серьезная проблема — довольно часто люди, перенесшие инсульт, травму или серьезную операцию находятся в депрессии или в подавленном эмоциональном состоянии и не имеют желания активно проводить лечебные занятия с помощью специализированного оборудования, которое крайне необходимо для полного восстановления здоровья [4].
- Способы решения проблемы
Заинтересованность и желание человека активно участвовать в своей реабилитации играет огромное значение для сокращения сроков восстановления здоровья [5]. Вывести больного из депрессивного состояния и заинтересовать комплексом реабилитационных мероприятий, довольно часто, бывает очень сложно [6].
Решению данной проблемы предлагается тремя способами:
- Использование постепенно действующих положительных факторов, формы и цвета.
- Использование динамических привлекающих эффектов.
- Использование динамических отталкивающих эффектов.
Вследствие того, что использование динамических отталкивающих эффектов может вводить пациентов с неустойчивой психикой в состояние страха или паники, то данное направление не будет рассматриваться как основное. Комплексное решение использования постепенно действующих положительных факторов и динамических привлекающих эффектов предлагается использовать в решении выдвинутой проблемы.
В своих исследованиях авторы ставили целью разработку конкретных устройств реабилитационного оборудования, поэтому работа начиналась с анализа патентной литературы. Тем более, что эта литература строго структурирована, и поэтому удобна в анализе устройств реабилитационного оборудования. Так как в результате работы предполагалось создание устройств, используемых в России, то упор в патентных исследованиях делался на патенты, Российской Федерации.
Известен тренажер, предназначенный для тренировки конечностей спортсменов, в особенности пальцев и кистей рук как показано на рисунке 1 [2].
Он может быть использован также для реабилитации оперированных больных, для лечения детей, пораженных детским церебральным параличом. Тренажер для тренировки конечностей для расширения функциональных возможностей содержит нагружатель, выполненный в виде жестко смонтированного на оси диска, на поверхности одного из торцов которого на равном расстоянии от оси установлены постоянные магниты. Недостатком этого тренажера является то, что он не дает дополнительный стимул к реабилитационным занятиям.
Рис. 1. Патент РФ № 2169027, опубликовано: 02.11.2000
Fig. 1. Patent of the Russian Federation No. 2169027, published: 02.11.2000
Известен тренажер многофункциональный реабилитационный для восстановления и развития функций верхних конечностей, содержащий основание, штурвал, регулируемые опоры как показано на рисунке 2 [7].
Рис. 2. Патент №RU174145 (U1), 2017-10-04, опубликовано: 04.10.2017
Fig. 2. Patent No.RU174145 (U1), 2017-10-04, published: 04.10.2017
Основание выполнено в виде столешницы стола, а регулируемые опоры выполнены в виде ножек стола, горизонтально расположенный вал штурвала установлен на основании на вертикальных опорах с возможностью вращения относительно опор, штурвал поджат к опоре усилием сжатия пружины с возможностью настройки усилия сжатия пружины регулировочной гайкой, установленной на вал штурвала по резьбе, на противоположном конце относительно штурвала на валу штурвала закреплена рукоятка с возможностью её удержания захватом кисти руки и вращения вместе с валом штурвала. Недостатком этого тренажера является то, что он не дает дополнительный стимул к реабилитационным занятиям.
Известен психологический эффект, часто называемый «Эффект Фехнера-Бенхема». Для демонстрации этого эффекта используется волчок с «Диском Бенхема», который представляет диск с нанесенными на нём в определённом порядке чёрно-белыми полосами – секторами как показано на рисунке 3 [8]. При приведении волчка во вращение (примерно 10 оборотов в секунду возникает ощущение ненасыщенных синих, зеленых, желтых и красных тонов. Эти ощущения возникают даже у дальтоников, и это говорит о роли психики человека в вопросе восприятия цвета.
Рис. 3. Диск Бенхема
Fig. 3. Benham's disk
В описанном виде «диск Бенхема» не может быть использован в качестве реабилитационного тренажера. Требовалось спроектировать устройство, которое предполагает внедрение в тренажер технического решения, реализующее «Эффект Фехнера-Бенхема». Для реализации этого решения наиболее подходил тренажёр, позволяющий восстанавливать функции плечевого и локтевого сустава. На рис. 4 показан эскиз реабилитационного тренажёра с использованием «Эффекта Фехнера-Бенхема».
Рис. 4. Эскиз реабилитационного тренажёра с использованием «Эффекта Фехнера-Бенхема»
Fig. 4. A sketch of a rehabilitation simulator using the "Fechner-Benham effect"
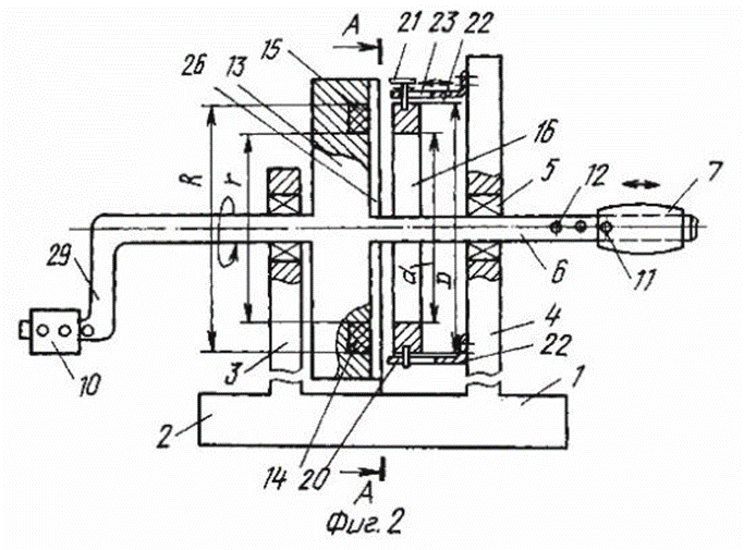
Предлагаемый тренажер для восстановления функций верхних конечностей работает следующим образом [9]. Пациент с помощью рукояти 11 приводит во вращение штурвал 2, движение от которого передается через ведущий вал 10 на ведущее зубчатое колесо 9. Ведущее зубчатое колесо 9 входит в зацепление с ведомым зубчатым колесом 8, движение от которого через ведомый вал 6 передается на «диск Бенхема» 7. Поскольку ведомое зубчатое колесо 8 выполнено меньше ведущего зубчатого колеса 9 (Отношение числа зубьев находиться в диапазоне i =Z2/Z1
= (5-10)) и входит с ним в зацепление, то «диск Бенхема» 7 вращается быстрее штурвала (со скоростью 5-10 оборотов в секунду). Вращение штурвала осуществляется со скоростью 1-2 оборота в секунду. Ведущий вал 8 оснащен диском с нанесенными на него в определённом порядке чёрно-белыми полосами-секторами, и при его вращении со скоростью 5-10 оборотов в секунду возникает ощущения ненасыщенных синих, зеленых, желтых и красных тонов. Это вызывает удивление и эмоциональный подъем, что дает дополнительный стимул к реабилитационным занятиям, тем самым повышая эффективность процесса реабилитации.
С помощью подставленной концепции предлагается заинтересовать пациента, используя динамические привлекающие эффекты. Кроме того, человек использующий тренажер, наблюдая представленный эффект, может контролировать интенсивность реабилитационных занятий.
При разработке корпуса реабилитационного тренажера предлагается учитывать постоянно действующие положительные факторы, влияющие на эргономику устройства с помощью формы и цвета, как показано на рисунке 5 [10].
Рис. 5. Эскизное решение корпуса тренажера
Fig. 5. Sketch design of the simulator body
Форма корпуса тренажера пластична и повторяет очертания «диска Бенхема» и визуально стимулирует к вращательным движениям пациента. В основу корпуса изделия положена форма круга, не имеющая углов и в следствии этого визуально самая доброжелательная форма [11].
Опираясь на данные эргономических исследований, для корпуса изделия был определен оттенок голубого цвета, способствующего сосредоточенности, снижению мышечного напряжения, настраивающий на терпение во время сеансов реабилитации. Для штурвала тренажера был определен светло-зеленый цвет повышающий мышечную работоспособность. Самые визуально-активные детали оборудования: рукоять штурвала и графический элемент в виде стрелки окрашены в оттенок, желтого цвета, который визуально активизирует двигательные центры, вызывает радостное настроение, генерирует энергию мышц [12], [13].
Рассмотрим тренажеры другого типа, разработанные для реабилитации пациентов с нарушенной координацией движения, а также для людей, желающих развития двигательно-координационных навыков и возможностей.
Известно устройство для биомеханического воздействия на организм человека содержащее базовую опору, предназначенную для размещения на ней, по меньшей мере, нижних конечностей человека, и слой пружин, на которых установлена базовая опора с возможностью обеспечения колебательного движения вдоль координатных осей х, y и z и вращения относительно координатных осей х и y при воздействии на нее человека представленное на рисунке 6 [14].
Рис. 6. Устройство для биомеханического воздействия на организм человека
Fig. 6. A device for biomechanical effects on the human body
Недостатком этого тренажера является то, что он не дает дополнительный стимул к реабилитационным занятиям.
Известен тренажер-балансборд содержащий диск с площадкой для ног, установленный на сфере представленный на рисунке 7 [15].
Рис. 7. Тренажер-балансборд
Fig. 7. Balance board simulator
На диске смонтирован датчик положения диска. В сфере смонтированы модуль управления и модуль сопряжения с персональным компьютером или мобильным устройством. Представленные модели реабилитационного оборудования, разработанные для реабилитации пациентов с нарушенной координацией движения, а также для людей, желающих развития двигательно-координационных навыков и возможностей, не дают дополнительный стимул к реабилитационным занятиям. Для решения данной проблемы было принято решение разработать концептуальное решение тренажера для реабилитации пациентов с нарушенной координацией движения и тренировки двигательно-координационных навыков с дополнительной функцией – стимулировать человека к проведению тренировок. Концептуальное решение тренажера основывалось на образе лодки, и представлено на рисунке 8.
Рис. 8. Концептуальное решение тренажера в виде лодки
Fig. 8. The conceptual solution of the simulator in the form of a boat
Реабилитационное оборудование в виде лодки можно представить состоящим из двух частей: первая – корпус с сиденьем и столом: вторая – лабиринт. Человек, меняя своё положение на стуле, изменяет положение стола и лабиринта на нём. При строгой координации движений своего тела человек может управлять движением шарика в лабиринте.
Опираясь на данные эргономических исследований с точки зрения колористки, для корпуса изделия был определен оттенок бежевого цвета, отражающий натуральную окраску лодки. Выбранный оттенок вместе с формой тренажера напоминающий форму лодки создает ощущения узнаваемости объекта и комфорта восприятия, а также желание начать пользоваться им. Обивка сидения тренажера, представленного в концепции в виде стула, окрашена темно-голубым цветом способствующего сосредоточенности, уверенности, снижению мышечного напряжения, настраивающий на терпение во время сеансов. Перегородки лабиринта также окрашены темно-голубым цветом, способствующим сосредоточению внимания и спокойствию. Поле лабиринта окрашено белым цветом, обеспечивая контрастное решение и хороший обзор игрового поля. Самые визуально-активные детали оборудования: ручки и шарик окрашены в оттенок, оранжевого цвета, который визуально активизирует двигательные центры, вызывает радостное настроение, генерирует энергию мышц [16].
Заключение
Для определения перспектив в проектировании реабилитационного оборудования следовало учесть мнение экспертов, работающих с пациентами. Была проведена классификация психологических и эргономических подходов в проектировании реабилитационного оборудования. Были выделены три основных подхода. Первый подход – это использование динамических отталкивающих эффектов. Второй подход –использование положительных статических психологических эффектов. Третий подход –использование положительных динамических эффектов.
Мнение экспертов сводилось к следующему. Использование динамических отталкивающих эффектов для стимуляции пациента активно участвовать в своей реабилитации возможно только при реабилитации и тренировки людей с устойчивой психикой. Применение положительных психологических эффектов, основанных на использовании постоянных факторов (форма, цвет, тактильные ощущения), хорошо изучены и удобны в проектировании реабилитационного оборудования. Третий подход, основанный на использовании положительных динамических эффектов, в настоящее время активно развивается, на что указывает рост числа патентов. Замечено, что есть аналогия между факторами развития ребёнка и факторами реабилитации пациентов после инсультов и физических травм. Поэтому, например, идея детской игрушки «Дюймовочка» ждёт своего часа в использовании её в реабилитационном оборудовании.
Выводы
-
-
-
- Для плодотворного использования динамических отталкивающих эффектов для стимуляции пациента активно участвовать в своей реабилитации необходимо углублённое изучение специфики взаимодействия пациента с реабилитационным оборудованием.
- Использование постоянных факторов (форма, цвет, тактильные ощущения), хорошо изучено и удобно в проектировании реабилитационного оборудования.
- Применение положительных динамических эффектов, в настоящее время активно развивается имеет большие перспективы. В этом направлении продуктивно использовать наблюдаемую схожесть между факторами развития ребёнка и факторами реабилитации пациентов
-
-
1. Clifton D.W. How to Locate Sources of Disability-Related Data. Chapter 15. In: Clifton D.W. Physical Rehabilitation’s Role in Disability Management. 2005. p. 229-238. doi:https://doi.org/10.1016/B978-072168474-1.50020-9.
2. Bykova E.N., Kirichenko O.M. Concepts of Creative Form-Building in the Art Nouveau Style. The Bulletin of the Kharkov State Academy of Design and Arts. 2014;2:56-60.
3. Rice V.J.B. Human Factors in Medical Rehabilitation Equipment: Product Development and Usability Testing. Chapter 10. In: Jacobs K. Ergonomics for Therapists. 3rd ed. Mosby; 2008. p. 151-172. DOIhttps://doi.org/10.1016/B978-032304853-8.50013-5.
4. Gorgey A.S., Sumrell R., Goetz L.L. Exoskeletal Assisted Rehabilitation After Spinal Cord Injury. In: Atlas of Orthoses and Assistive Devices. 5th ed. Elsevier; 2019. p. 440-447.e2. DOIhttps://doi.org/10.1016/B978-0-323-48323-0.00044-5.
5. Young J. Rehabilitation: General Principles. Chapter 103B. In: Textbook of Geriatric Medicine and Gerontology. 7th ed.; 2010. p. 1-21. DOIhttps://doi.org/10.1016/B978-1-4160-6231-8.10129-1.
6. Nielsen G. Physical Treatment of Functional Neurologic Disorders. Handbook of Clinical Neurology. 2016;139:555-569. DOIhttps://doi.org/10.1016/B978-0-12-801772-2.00045-X.
7. Dukhovskoy E.A., Mironov A.A., Yaskevich E.E. Exercise Machine for Training Limbs. Patent RF No. 2169027 C1; 2006 Jun 20.
8. Mikhailov A.V., Mikhailov V.V. Multi-Functional Rehabilitation Exercise Machine for Restoration and Development of Upper Limb Functions. Patent RF for Utility Model No. 174145 U1. Children’s Restorative Medicine; 2017 Oct. 4.
9. Remenko S., Molodyan I.P, Gitu F.I., editors. Colour and Vision. Chisinau: Kartya Moldavenyaska; 1982. p. 35-37.
10. Sokolov A.P., Khmelevsky Yu.P., Kukhta M.S. Device for Training Upper Limbs. Patent RF No. 2674897 C1. National Research Tomsk Polytechnic University; 2018 Dec. 13.
11. Shkil O.S. Fundamentals of Ergonomics in Design of Habitat. Part I. Blagoveshchensk: Publishing House of Amur State University; 2010. 164 p.
12. Kornienko N.A. Projective Psychology of Personality Typology. Professional Education in the Modern World. 2023;13(2):353-376. DOIhttps://doi.org/10.20913/2618-7515-2023-2-18.
13. Smirnov A.B. Ergonomics; 2016. 125 p.
14. Kochegarov B.E. Industrial Design. Vladivostok: Publishing House of Far Eastern State Technical University; 2006. 297 p.
15. Kakhidze A.S., Turzhanskaya M.A., Agashin M.F., et al. Device for Biomechanical Action on the Human Body. Patent RF No. 2501589 C2; 2013 Dec 20.
16. Solovey A.V. Balance Board. Patent RF for Utility Model No. 144815 U1; 2014 Aug 27.




